氣動敲擊錘 空氣錘 振打器sx60sx80sx100




產品名稱:氣動敲擊錘 空氣錘 振打器sx60sx80sx100
產品說明:
氣動空氣錘又名敲擊錘,空氣炮,振打器--輕松解決企業堵塞難題


說明:
空氣錘又名空氣敲擊錘,其特點是撞擊力大,結構簡單,使用方便。可有效解決粉體物料粘壁、掛料、堵塞、架橋等情況。沖擊力大,噪音小,多種型號可供選擇。沖擊力和動作時間可控制,安裝方便。可在防爆、多粉塵、潮濕等環境中使用。廣泛適用于化肥,化工,食品,醫療,農藥,玻璃,水泥等行業。全鋁結構強度高,單機式/沖擊力度大,重量輕,沖擊間隔時間可調整。

工作原理:
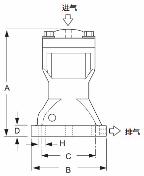
空氣錘內部有-強磁力磁鐵,在末動作前,磁性錘頭緊貼在磁力基板上。當三通電磁閥通電,進氣壓力大于貼合磁力時,磁性錘頭高速脫離基板,向底部沖擊。沖擊后,三通電磁閥斷電,產品內氣體排除,錘頭借助彈簧回復至初始位置。空氣錘的沖擊力,傳遞到管道或桶倉壁,使物料能夠順利流動。。 產品通過200萬次左右敲擊次數試驗檢測,無需更換任何部件,構造簡單基本無需保養。
我司產品通過200萬次左右敲擊次數試驗檢測,顯示了設計水準的耐用性能和工作能力。


我司產品通過長久市場驗證,無一外殼被敲破或內部變形現象。





  • 下一條信息: 蓄能型氣動敲擊錘SX80-2氣動錘SX-60-2/氣動空氣錘100-2/接力氣錘飛馳廠家/
  • 上一條信息: 防火花空氣錘 2代敲擊錘SX-30-2 SX40-2 SX60-2 SX80-2 SX100-2